
Việc sản xuất xe cho cả thị trường người lái bên trái và người lái bên phải làm tăng thêm chi phí và sự phức tạp cho các nhà sản xuất ô tô, nhưng một thiết kế mới của Volvo có thể loại bỏ điều đó.
Vào tháng 9, nhà sản xuất ô tô Thụy Điển đã nộp đơn lên Văn phòng Sáng chế và Nhãn hiệu Hoa Kỳ cho chiếc vô lăng trượt từ trái sang phải.
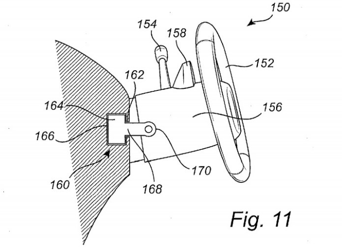
Lần đầu tiên được phát hiện bởi Autoblog vào thứ Hai, ứng dụng mô tả một vô lăng và cụm công cụ được gắn trên đường ray chạy theo chiều rộng của bảng điều khiển. Điều đó tương tự như cách bố trí được sử dụng bởi Mercedes-Benz Unimog, nhưng thiết kế của Volvo sử dụng công nghệ truyền động bằng dây, có nghĩa là không có kết nối cơ học giữa vô lăng và mặt đường.

Vô lăng trượt có thể cho phép Volvo bán ô tô ở cả thị trường người lái bên trái và bên phải mà không cần sửa đổi. Nó thậm chí có thể cho phép người lái ngồi ở giữa xe – như trong McLaren F1 hoặc Speedtail.
Volvo cũng lưu ý trong đơn xin cấp bằng sáng chế rằng vô lăng trượt có thể cung cấp cho người ngồi nhiều không gian hơn trong những chiếc xe tương lai có thể có khả năng lái tự động. Về mặt lý thuyết, người lái xe có thể sử dụng chế độ tự lái và di chuyển vô lăng. Tuy nhiên, điều này có thể tạo ra vấn đề. Nếu người lái cần kiểm soát lại, thì thời gian quý báu sẽ được dành để di chuyển vô lăng về vị trí cũ. Do đó, nếu ô tô thực sự có khả năng tự lái mọi lúc, không rõ các nhà sản xuất ô tô có bận tâm đến việc bao gồm cả vô lăng hay không.

Thay vì hộp bàn đạp trượt, Volvo gợi ý rằng bàn đạp thông thường có thể được thay thế bằng các miếng đệm nhạy cảm với áp suất, cảm biến hoạt động bằng thủy lực hoặc khí nén hoặc một số thiết lập khác cho phép chúng được đặt ở cả hai chỗ để chân. Chúng sẽ kích hoạt dựa trên phía bên nào của chiếc xe mà vô lăng.
Volvo đã không đưa ra bất kỳ dấu hiệu nào cho thấy họ có kế hoạch đưa một cái gì đó như thế này vào sản xuất. Các nhà sản xuất ô tô thường nộp đơn đăng ký bằng sáng chế để bảo vệ ý tưởng, cho dù họ có định sử dụng chúng hay không. Trong khi đó, Volvo gần đây đã bắt đầu giới thiệu giới hạn tốc độ 112 dặm / giờ trong phạm vi của mình và có kế hoạch giới thiệu hệ thống lidar vào năm 2022. Xem thêm: otovolvo.com
